Media90 – Apple dilaporkan mengajukan paten untuk casing perangkat dengan kemampuan komunikasi satelit yang lebih kuat. Dokumen paten ini sebenarnya diajukan sejak 2024 dan baru muncul ke publik saat ini.
Casing Konektivitas Satelit Apple
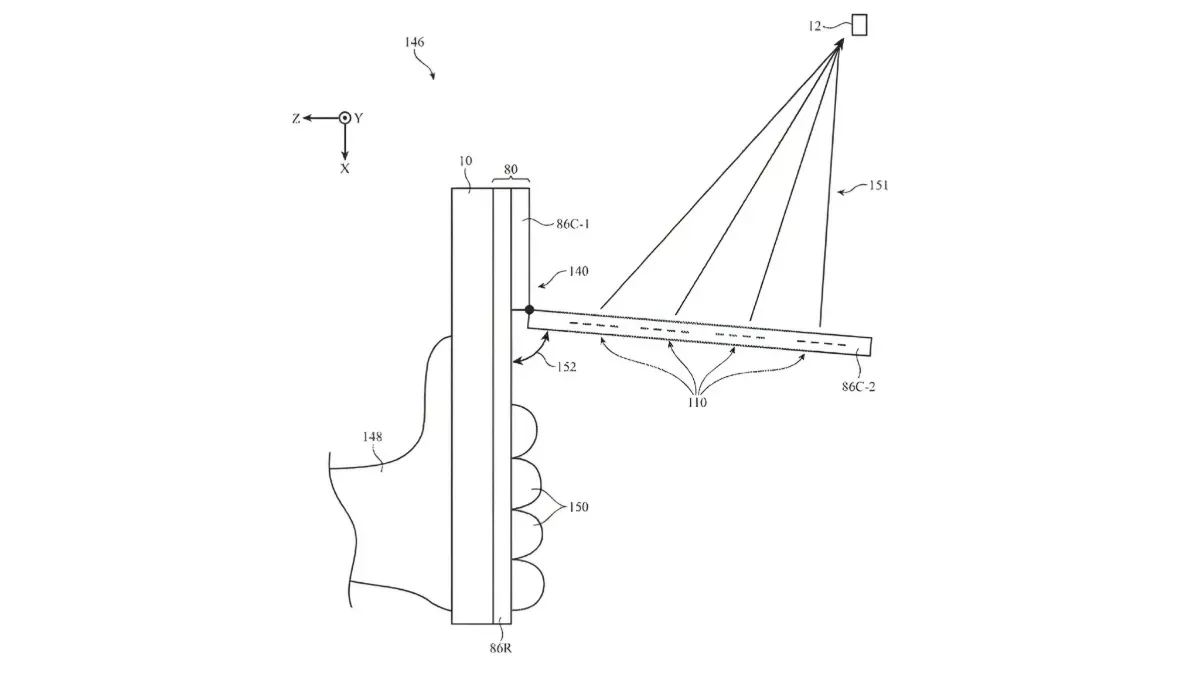
Casing inovatif ini dirancang untuk iPhone dan iPad, dilengkapi antena tambahan yang disebut mampu meningkatkan kualitas koneksi satelit.
Yang menarik, desain casing memiliki bagian yang bisa dibuka dan diarahkan ke langit, tempat antena phased array ditempatkan. Dengan begitu, tangan pengguna tidak menghalangi sinyal saat perangkat digunakan.
Fitur dan Fungsi
- Casing dapat terhubung ke beberapa satelit sekaligus, meningkatkan stabilitas dan kualitas koneksi.
- Tetap berfungsi seperti casing biasa, karena bisa dipasang dan dilepas oleh pengguna.
- Apple juga menyebut kemungkinan komunikasi data melalui konektor radio-frequency atau NFC.
Meski terdengar menarik, paten ini belum tentu akan menjadi produk komersial. Banyak konsep yang hanya berhenti di tahap dokumen dan tidak direalisasikan.
Jika benar diwujudkan, akses komunikasi satelit lewat casing tambahan bisa membuka opsi baru, terutama untuk kondisi darurat atau area tanpa jaringan seluler.
Apakah aksesori seperti ini realistis untuk pasar umum? Konsep ini bisa menjadi revolusi bagi pengguna di area terpencil, tapi juga menimbulkan pertanyaan tentang harga, ukuran, dan kenyamanan penggunaan sehari-hari.














